Магнетрон MG8076
Магнетрон MG8076
Под заказ
Уточняйте стоимость у менеджеров
Документация
Магнетрон MG8076
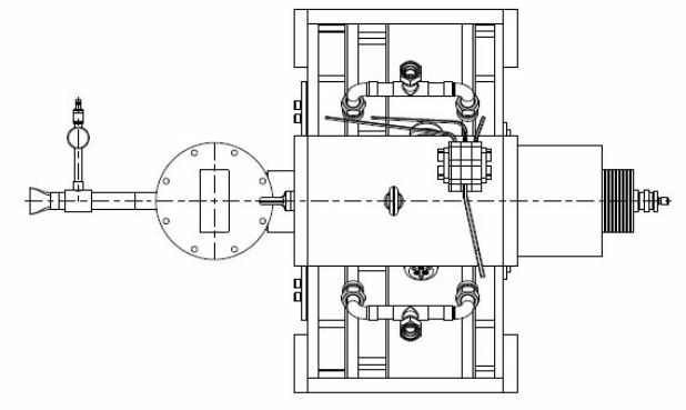
MG8076 - магнетрон, работающий в диапазоне 2998 МГц ± 5 МГц с максимальной выходной мощностью 7500 кВт.
Магнетрон с водяным охлаждением имеет встроенный водоотталкивающий чехол. Расход воды составляет 25 литров в минуту. Температура входящей воды не должна превышать 40 ° C.
Магнетрон MG8076 безопасен в обращении и эксплуатации, при условии, что соблюдаются соответствующие меры предосторожности, указанные в документе.

| Дополнительная информация |
| Сводная таблица магнетронов |
| Магнетроны для радаров. Каталог продукции E2V (EEV) |
| Как заменить магнетрон на РЛС |
| Продолжительность импульса | 6.0 мкс |
| Скорость нарастания напряжения импульса | 120 кВ/м |
| Диапазон воспроизводимых частот | 2998 МГц ± 5 МГц |
| Максимальная выходная мощность | 7500 кВт |
| Напряжение нагревателя | 8.5 В |
| Максимальный ток нагревателя | 20 А |
| Вес | 13 кг |
Другие товары категории