Магнетрон MG5028
Магнетрон MG5028
Под заказ
Уточняйте стоимость у менеджеров
Документация
Магнетрон MG5028
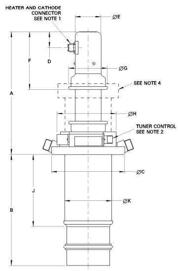
Магнетрон MG5028 предназначен для линейных ускорителей, работает в диапазоне частот 2852 - 2861 МГц с пиковой выходной мощностью 5500 кВт. Магнетрон должен быть защищен от нагрузки с помощью разъединителя или циркулятора.
Магнетрон MG5028 и электромагнит имеют встроенные водостойкие чехлы. Магнетрон MG502 требует расход воды от 18 до 27 л / мин; падение давления составляет максимум 103 кПа. Электромагнит требует расхода воды 4,5 л / мин при падении давления 14 кПа.

| Дополнительная информация |
| Сводная таблица магнетронов |
| Магнетроны для радаров. Каталог продукции E2V (EEV) |
| Как заменить магнетрон на РЛС |
| Максимальное анодное напряжение | 55 кВ |
| Максимальный анодный ток | 265 А |
| Входная мощность | 7,0 кВт |
| Продолжительность импульса | 5.0 мс |
| Скорость нарастания напряжения импульса | 150 кВ/м |
| Диапазон воспроизводимых частот | 2852 - 2861 МГц |
| Максимальная выходная мощность | 500 кВт |
| Напряжение нагревателя | 6.0 В |
| Вес | 8 кг |
Другие товары категории