Пожарный извещатель ИК90 IP44
-
Доступно к заказу
-
Сертификат:РМРС
Пожарный извещатель ИК90 IP44
Под заказ
Уточняйте стоимость у менеджеров
Документация
Руководство по эксплуатации "ПСМ"
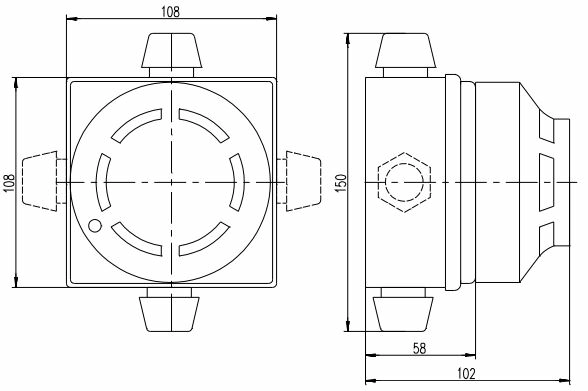
ИК90 – комбинированный адресный извещатель. Порог срабатывания составляет 20-50% задымленности. Максимальное температурное значение +90°С. Используется в составе системы обнаружения пожара «ПСМ-А». Устройство рекомендовано к установке в машинных отделениях.
Сертифицирован Российским Морским Регистром Судоходства.
При обнаружении опасных показателей, ИК90 выдает специализированный сигнал тревоги. Приведение устройства в действие осуществляется вручную. Класс защиты – IP44. Корпус – белый.
| Совместимость | Система «ПСМ-А» |
| Класс защиты | IP44 |
| Корпус | Белый |
| Мощность | 0,3 - 0,65 Вт |
| Рабочая температура | -30 + 90 °С |
В стандартный комплект входит:
| Извещатель |
| Упаковка |
Другие товары категории